Skip to main content
🔍
← Fire Protection Systems
WATER SUPPLYNFPA 24NFPA 25

Fire Hydrant
The Water Supply Interface

The fire hydrant is where the municipal water main meets the fire apparatus. Every engine company in America plans its attack around one. Inside: dry-barrel vs wet-barrel construction, NFPA 24 installation, NFPA 25 ITM, the 5-year flow test, color codes, and the private-hydrant compliance traps that catch property owners every year.

By Samektra · 14 min read · Last updated April 2026

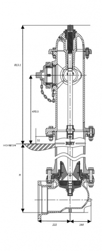
Standard dry-barrel fire hydrant (AWWA C502). The main valve is at the bottom; the barrel is dry until the hydrant is operated.

What Is a Fire Hydrant?

A fire hydrant is an above-ground outlet connected to a pressurized water main that allows fire apparatus to draw water for firefighting operations. Hydrants are the primary interface between the water supply infrastructure and the fire department, and they exist in two constructionally distinct families — dry-barrel and wet-barrel — governed by separate AWWA standards and suited to different climates.

Every building in a fire protection jurisdiction is served by one or more hydrants, and the spacing, flow capacity, and condition of those hydrants directly drive the building's Needed Fire Flow (NFF), insurance rating (ISO PPC), and the fire department's tactical plan. On private property, hydrants downstream of the water meter become the property owner's responsibility under NFPA 24 and NFPA 25.

Dry-Barrel vs Wet-Barrel Hydrants

The single most important construction distinction is whether water sits in the hydrant barrel at rest.

Dry-Barrel (AWWA C502)

  • Main valve at the bottom, below the frost line, at the shoe
  • Barrel is empty at rest — drained through a drain port when closed
  • Used in freezing climates (most of the US)
  • Operating nut at the top turns a stem that drives the main valve up/down
  • Frangible traffic flange (breakaway) just above grade — car-strike protection
  • Drain valve at the shoe automatically opens when hydrant is closed
  • More complex — more parts that can fail

Wet-Barrel (AWWA C503)

  • Valve at each outlet — the barrel is always full of water
  • Each outlet opens independently with its own stem
  • Used only in non-freezing climates (California, Gulf Coast, Hawaii, Florida)
  • Simpler construction — fewer moving parts
  • Instant water at the outlet when operated — no barrel to fill
  • Cannot tolerate any freezing — will split the barrel

Quick Test: Which One Is It?

Close all the outlets and listen after operating the hydrant. If the barrel drains (you hear a gurgle and the water stops at the caps), it is dry-barrel. If water is present at every outlet as soon as you crack a cap even without turning the operating nut, it is wet-barrel.

Parts of a Fire Hydrant

A modern dry-barrel hydrant has 40+ machined and cast parts. These are the ones that matter for ITM and field inspection:

Bonnet
The top-most cap over the operating nut. Contains the upper stem packing and often the gear housing on large hydrants. Color-coded per NFPA 291 to indicate flow class.
Operating Nut
Pentagon-shaped nut (typical 1-1/2") on top of the bonnet. Turns the stem that opens the main valve. Most hydrants open counter-clockwise (lefty-loosey), but some municipalities use right-hand-open — always check the arrow stamped on the bonnet.
Upper Barrel
The above-grade portion of the hydrant body. Houses the stem, hose nozzles, and pumper nozzle. Color-coded body (or at minimum cap and bonnet) per NFPA 291.
Pumper Nozzle (Steamer)
The single 4-1/2" (sometimes 5") large-diameter outlet facing the street. Connects to the pumper suction hose. The primary outlet for fire attack operations.
Hose Nozzles
Two 2-1/2" outlets on the sides of the barrel. Used for attack lines and fire department hand lines. Standard NST (National Standard Thread) unless the jurisdiction uses Storz or a proprietary thread.
Nozzle Caps
Threaded covers on each outlet with integral operating chains. Missing caps allow debris and insects into the barrel and are an immediate deficiency.
Breakaway (Traffic) Flange
A frangible flange about 2" above grade. If a vehicle strikes the hydrant, the flange shears cleanly and the hydrant falls away — but the main valve stays closed below grade, preventing a water main rupture. A critical safety feature.
Stem
The internal rod that connects the operating nut at the top to the main valve at the shoe. Usually stainless or bronze. A bent or broken stem is a total hydrant failure.
Lower Barrel
The below-grade portion of the hydrant, from the breakaway flange down to the shoe. Should extend below the local frost line.
Drain Valve (Drain Port)
A small port in the shoe assembly that automatically opens when the main valve is closed, allowing water remaining in the barrel to drain out into a gravel drainage pocket. The drain port is why the barrel stays dry between uses.
Main Valve
The primary water-control element at the bottom of the hydrant. Usually a bronze or ductile-iron poppet that seals against a rubber-faced seat ring. Below the frost line, so the water in front of the valve is always liquid.
Seat Ring
The rubber-faced ring against which the main valve seals. Can be field-replaced on most hydrants using a special wrench inserted down the open hydrant. A worn seat ring causes slow leakage and chronic valve weep.
Shoe
The 90° elbow at the base that connects the hydrant to the water main lateral. Bolted to the gate valve/isolation valve feeding the hydrant — that isolation valve must be open for the hydrant to function.

NFPA 291 Hydrant Color Code

NFPA 291 §4.15 assigns a bonnet/cap color based on the hydrant's tested available flow at 20 PSI residual. The color is a visual signal to arriving apparatus about how much water they will get from that hydrant before they even pull up.

ColorClassFlow at 20 PSITactical Meaning
Light BlueClass AA1,500+ GPMExcellent — full pumper capacity; master stream ready
GreenClass A1,000 – 1,499 GPMGood — adequate for most structure fires
OrangeClass B500 – 999 GPMMarginal — may need tanker supply or second hydrant
RedClass CLess than 500 GPMPoor — unreliable; use as a last resort or for fill operations only

Private hydrants (on private property, downstream of the meter) are usually painted a different body color (red, yellow, or custom) to distinguish them from public hydrants. The bonnet and outlet caps must still carry the NFPA 291 flow color. Painting the bonnet to match the landscaping is not permitted when the hydrant is intended for fire service use.

Hydrant Spacing & Location

Hydrant spacing is set by the adopted fire code and the required fire flow for the occupancy and construction type. The IFC and NFPA 1 give guidance in their appendices, but the final call is the local Fire Marshal.

  • Maximum spacing between hydrants — IFC Appendix C table based on required fire flow. Typical values: 500 ft for small residential buildings, 300 ft for commercial, 100 ft on the approach to an FDC.
  • Maximum distance from any point on the building — typically 400 ft for non-sprinklered buildings, 600 ft for fully sprinklered buildings (measured along the fire apparatus travel path, not straight-line).
  • FDC-to-hydrant distancewithin 100 ft of the FDC per NFPA 13 §16.12.2, so the engine company can supply the FDC with a short supply line.
  • Clear setback3 ft on all sides of the hydrant per IFC §507.5.5. No parking, landscaping, dumpsters, or stored material within the 3-ft envelope.
  • Pumper nozzle orientation — must face the street/access road so the pumper can connect its suction hose without repositioning the engine.
  • Nozzle height — AWWA M17 recommends the 4-1/2" pumper nozzle centerline be 18" above finished grade. Hydrants buried by regraded landscaping are a common deficiency.

NFPA 25 ITM — What the Facility Owner Must Do

Private hydrants on the owner's side of the meter fall under NFPA 25 Ch. 7. The owner is responsible for the following schedule:

FrequencyActivity (NFPA 25 reference)
QuarterlyVisual inspection — §7.2.2.5. Verify caps in place, chains intact, no physical damage, 3-ft clearance, landscape not encroaching, color code correct.
AnnuallyFull operation — §7.3.2.2. Open the hydrant to fully open, then fully close. Verify main valve operates smoothly, drain valve drains the barrel (listen for gurgle), no leaks when closed.
AnnuallyFlush — §7.3.2.2. Flow water until clear of debris and sediment.
AnnuallyLubricate — §7.3.2.3. Operating nut, stem threads, and cap threads per manufacturer data.
Every 5 yearsFlow test — §7.3.1. Test pairs of hydrants to determine static, residual, and flow at 20 PSI. Update color codes per NFPA 291. Compare to baseline.

The annual operation is not optional. A hydrant that is "visually inspected" for 10 years without being operated is a hydrant with a frozen stem, rotted seat ring, or plugged drain valve waiting to surprise the fire department at the worst possible moment.

The 5-Year Flow Test

NFPA 25 §7.3.1 requires a flow test of the private fire service main every 5 years. This is the same test that originally established the hydrant's color code — and it must be repeated to verify the water supply has not deteriorated.

Procedure (two-hydrant method)

  1. Select two hydrants in series. The upstream hydrant reads residual pressure; the downstream hydrant flows.
  2. Record static pressure on the upstream (residual) hydrant with all outlets closed — attach a cap gauge to a 2-1/2" outlet and crack the main valve.
  3. Open the flow hydrant one 2-1/2" outlet (or the pumper nozzle, per the test plan). Attach a pitot gauge to read the velocity pressure at the outlet.
  4. Read residual pressure on the upstream hydrant while the flow hydrant is discharging.
  5. Calculate flow from the pitot reading: Q (GPM) = 29.83 × c × d² × √p, where d is the orifice diameter in inches, p is the pitot pressure in PSI, and c is the coefficient of discharge (0.9 for a smooth outlet with rounded corners).
  6. Calculate available flow at 20 PSI residual using the Hazen-Williams rearrangement: Q₂₀ = Q₁ × [(H₁ − 20) / (H₁ − H₂)]^0.54.
  7. Update color code on the bonnet and caps per NFPA 291 based on the calculated Q at 20 PSI.
  8. Compare to baseline — a drop of more than 10% from the original test indicates a deteriorating water supply that must be investigated.

Notify Before You Flow

Flow testing dumps thousands of gallons of water and can stir up sediment that discolors water downstream for hours. Always coordinate with the water utility and notify adjacent buildings (especially hospitals and dialysis facilities) before testing. Schedule tests for daylight, ideally before 10 a.m., and discharge into a storm drain or vegetated area that can absorb the flow.

Common Field Deficiencies

  • Missing caps — allows insects, debris, and (in dry-barrel) rainwater to enter the barrel. Single most common finding.
  • Stuck operating nut — lack of annual operation allows internal corrosion to seize the stem. Often the hydrant cannot be operated without a breaker bar, which risks stem damage.
  • Landscape encroachment — shrubs, mulch berms, and flower beds planted within the 3-ft clear zone. IFC §507.5.5 violation.
  • Buried barrel — regraded landscaping or new sidewalk installation raises grade above the breakaway flange, defeating the frangible design.
  • Wrong color code — old flow test result; color does not match the current water supply capacity.
  • Drain valve not draining (dry-barrel) — water remains in the barrel after closing. Freezes in winter, splits the barrel. Usually caused by a plugged gravel pocket or a failed drain valve.
  • Wet barrel after closing (dry-barrel) — indicates the main valve is not fully seating. Check the seat ring.
  • Leaking packing — water weeping from the operating nut during operation. Packing needs adjustment or replacement.
  • Isolation valve closed — the gate valve feeding the hydrant lateral is closed. Hydrant looks fine but will not flow. Can only be caught by annual operation.
  • Broken reflector/marker — in snow areas, the reflective flag or marker used to locate hydrants under snow is missing or bent.

Public vs Private Hydrants — Who Owns What?

The ownership line is the water meter or the property boundary, whichever is farther upstream. Downstream of that line, the facility owner owns the fire service main, the isolation valves (including PIVs), and every hydrant.

Public Hydrants

  • Located in the public right-of-way, connected to the municipal main
  • Owned, maintained, tested, and color-coded by the water utility
  • Flow test data usually published by the utility or fire department
  • Fire department has full authority to operate at any time

Private Hydrants

  • On private property, downstream of the meter
  • Owner pays for installation, maintenance, testing, and repair
  • Subject to NFPA 25 Ch. 7 ITM by a licensed contractor
  • Records must be retained and available on the premises
  • Fire marshal can cite the owner for deficient private hydrants

Fun Facts

The first pressurized fire hydrant in North America was installed in Philadelphia in 1803 by Frederick Graff — he was the engineer of the city waterworks and, in a legendary bureaucratic quirk, never patented the design so it could spread freely.

A pentagon-shaped operating nut exists specifically to discourage casual opening — a standard crescent wrench or socket will not grip it. Cities lose thousands of gallons every summer to kids opening hydrants with square-nut wrenches they buy at hardware stores.

A fully-open 4-1/2" pumper nozzle at 60 PSI residual discharges roughly 1,500 GPM — enough to empty a standard backyard pool in about 12 minutes.

The "dry-barrel" design was patented in 1869 by Birdsill Holly of Lockport, NY — the same inventor also designed the first modern steam heating system. Every frost-line hydrant in the US descends from his patent.

NFPA 291 flow colors (blue, green, orange, red) are mnemonic: follow the traffic-light logic and you get Blue → Green → Orange → Red. More water = cooler color.

The breakaway flange was not part of the original design — it was added after 1930s studies found that vehicle strikes on rigid hydrants caused massive water main ruptures. Now a legal requirement in most jurisdictions.

Some wet-barrel hydrants in California date from the 1920s — still in service, still passing annual flow tests. AWWA C503 construction is that durable in a non-freezing climate.

Snow markers (tall fiberglass rods with reflectors) came from a 1978 Boston blizzard where FDNY companies lost 6 minutes per alarm searching for buried hydrants. Now mandatory in every serious snow state.

▶ Watch on YouTube

See sprinkler system inspections and maintenance on What The Fire Code.

Watch on YouTube →

References

1. NFPA 24 (2022): Standard for the Installation of Private Fire Service Mains and Their Appurtenances.

2. NFPA 25 (2023): Standard for the Inspection, Testing, and Maintenance of Water-Based Fire Protection Systems — §7 Private Fire Service Mains.

3. NFPA 291 (2022): Recommended Practice for Water Flow Testing and Marking of Hydrants.

4. AWWA C502: Standard for Dry-Barrel Fire Hydrants.

5. AWWA C503: Standard for Wet-Barrel Fire Hydrants.

6. IFC (2021): §507 Fire Protection Water Supplies — §507.5 Fire Hydrant Systems.

7. IFC Appendix C: Fire Hydrant Locations and Distribution.

8. AWWA Manual M17: Installation, Field Testing, and Maintenance of Fire Hydrants.

Was this article helpful?

Rate this article to help us improve

Discussion (3)

You
MR
Mike R.Municipal Water Superintendent· 3 weeks ago

Best advice I can give a property owner: paint the top of the hydrant according to the NFPA 291 color code, not whatever matches the landscaping. The red/orange/green/blue tells the incoming fire company the flow rating at a glance — they need to know if this hydrant gives them 500 GPM or 1,500 GPM before they pull up and connect. Your curb appeal is not worth a delay when the engine is deciding where to set up.

19Reply
S
SamektraSafety Management & Training· 2 weeks ago

Exactly right. NFPA 291 assigns a cap and bonnet color for each flow range at 20 PSI residual — light blue for 1,500+ GPM (Class AA), green for 1,000–1,499 (Class A), orange for 500–999 (Class B), and red for under 500 (Class C). Private hydrants on facility property are subject to the same coding when they serve fire apparatus. If a property owner wants the hydrant body to match the building, that is allowed — but the bonnet and caps must retain the NFPA 291 colors.

12
DV
Dana V.Fire Sprinkler Contractor — NICET IV· 1 month ago

Private hydrants on healthcare and industrial campuses get neglected because the facility manager assumes the water utility maintains them. They do not. If it is downstream of the meter or on private property, it is yours. I walked a hospital campus last month where three of seven private hydrants would not open — stuck operating nuts, rotted drain valves, one was full of gravel. NFPA 25 §7.3 requires annual operation, and every one of these had been 'visually inspected' for years without anyone ever turning the nut.

26Reply
BP
Brandon P.Flow Test Technician· 2 months ago

Tip for the 5-year flow test: always pull the residual reading from a different hydrant than the flow hydrant. Never flow and read residual on the same hydrant — the pressure gauge will read the velocity pressure at the outlet, not the true residual at the main. Use a pitot gauge on the flow hydrant and a cap gauge on the upstream residual hydrant. Numbers match what the hydraulic calc assumed.

14Reply